| |
|
Meteorologische encyclopedie - hoofdstuk W |
|
|
|
Waarnemen: |
Het beschrijven van het actuele weer in een weerrapport
(waarneming) door een waarnemer op een bepaald tijdstip en
op een bepaalde plaats.
Er worden diverse meteorologische grootheden gemeten, zoals
de luchtdruk, de luchttemperatuur, de luchtvochtigheid, de
windrichting en de windsnelheid. De waarnemer beschrijft het
weer. Hij kijkt onder meer of er neerslag valt en zo ja,
wat
voor soort en in welke hoeveelheid, of er misschien mist is
en zo ja, hoe dicht die mist is. Verder maakt de waarnemer
een schatting van het horizontaal zicht, van de hoeveelheid
en
soort
van bewolking, enz. |
| |
| Waarneming: |
Het KNMI beschikt over basisgegevens en producten die worden
gebruikt voor de dagelijke weerberichtgeving. Dat zijn onder
meer actuele waarnemingen (nationaal en internationaal),
klimatologische informatie en gevalideerde data van
Nederland, gegevensstromen van satellieten,
en data van diverse meteorologische modellen. Het netwerk
van weerstations dat het KNMI in ons land beheert is
grotendeels geautomatiseerd. Automaten zijn tegenwoordig in
staat om continu het weer te observeren. Daarnaast wordt
gebruik gemaakt van vrijwillige waarnemers voor
meting
van
neerslag en meldingen van extreem weer. |
| |
| Waarnemer: |
| Iemand die een meteorologische waarneming verricht. Een
betrouwbare waarneming staat aan de basis en aan het einde
van de weersverwachting. Een waarneming bestaat uit metingen
van een aantal meteorologische elementen, zoals luchtdruk en
temperatuur. Andere elementen zijn schattingen, zoals de
hoeveelheid en de hoogte van de bewolking en het zicht. |
| |
| Waarnemingsdichtheid: |
Aantal waarnemingsstations per oppervlakte-eenheid. De
exactheid van de analyse van een bepaalde weerssituatie in
een bepaald kaart gebied
hangt natuurlijk sterk af van het aantal waarnemingen die in
dat gebied zijn gedaan. Om die reden kan worden gesteld dat
de kwaliteit van een weersverwachting een relatie heeft met
de dichtheid van het waarnemingsnet. |
| |
| Waarnemingsstation: (weerstation) |
Plaats waar meteorologische waarnemingen worden verricht.
Daartoe staat op een waarnemingsterrein een aantal
meteorologische instrumenten opgesteld. Nederland heeft
ongeveer
20 bemande waarnemingsstations. Voor een deel
vallen deze onder de verantwoordelijkheid van het KNMI in
De Bilt. Dat zijn de waarnemingspunten te De Bilt, Den
Helder (De Kooy), Vlissingen, Schiphol, Eelde (Groningen
Airport),
Beek (Maastricht-Aachen Airport), Rotterdam (Zestienhoven).
Terschelling, IJmuiden, Hoek van Holland en Lelystad
(Houtribsluizen).
Militaire waarnemingspunten zijn
gevestigd op de vliegvelden
Valkenburg (ZH), Soesterberg, Leeuwarden, Deelen, Eindhoven,
Volkel,
Twente en Gilze-Rijen. |
| |
Verder is er een aantal automatische meetpunten, o.m. op
enkele boorplatforms voor de Nederlandse kust: Euro-O,
Lichteiland Goeree,
Meetpost Noordwijk, AUK en K-13.
Bovendien zijn er enkele automatische windpalen: Huibertgat,
Texel hors, Oosterschelde, Schaar en Cadzand.
Op land zijn automatIsche meetpunten te vinden bij Lauwersoog, Marknesse,
Stavoren, Hoorn, Lelystad, Hoogeveen, Nleuw-Beerta, Heino,
Hupsel, Herwijnen, Rotterdam (Geulhaven), Arcen,
Wilhelminadorp en Oost-Maarland. |
| |
| Waarnemingsterrein: |
| Terrein behorend bij een waarnemingsstation, waar de voor de
meteorologische waarnemingen benodigde instrumenten staan
opgesteld.
Het terrein moet voldoen aan een aantal voorwaarden.
Zo
mogen de metingen niet door begroeiing of gebouwen in de
omgeving worden beïnvloed. |
| |
| Waarnemingstijd: |
Periode waarin de verschillende meteorologische grootheden
worden gemeten, geschat, geconstateerd en genoteerd. Deze
periode bedraagt
meestal minimaal tien minuten.
Bij volkomen duisternis en/of
het aanwezig zijn van een grote verscheidenheid aan
verschijnselen is een langere periode vaak noodzakelijk. |
| |
| Waarnemingstijdstip: |
| Moment waarop de waarneming wordt afgesloten. Voor
synoptische waarnemingen is dit het moment waarop de
barometer wordt afgelezen. |
| |
| Waarschuwingen: |
Het geven van waarschuwingen voor weersomstandigheden, zoals
gladheid, mist of storm die gevaar opleveren voor de
samenleving is één van de kerntaken van het KNMI.
Dreigt het
extreem te worden dan geeft het KNMI een Weeralarm uit, een
ernstige waarschuwing voor extreme weersomstandigheden
waarbij nadrukkelijk wordt gewezen op de mogelijke
gevolgen
en risico's van het verwachte weer. Een Weeralarm wordt op
zijn vroegst 12 uur tevoren uitgegeven maar zo mogelijk
voorafgegaan door een voorwaarschuwing die op zijn 24 uur
tevoren wordt uitgegeven.
Bij een voorwaarschuwing is de kans dat het tot een
Weeralarm komt al minstens 50%. Zodra het Weeralarm van
kracht wordt is de kans op extreem weer opgelopen tot
minstens 90%. De taak om namens de overheid waarschuwingen
uit te geven en speciale berichten te verzorgen bij
calamiteiten waarin het weer een belangrijke rol speelt,
is
vastgelegd in de "Wet op het KNMI". |
| |
| Waddeneilanden: |
Het klimaat van de Waddeneilanden verschilt van dat van het
vasteland. De zon schijnt er vaker, het regent er in de
warmste maanden minder en in een duinpan kan het zomers warm
zijn op dagen wanneer het in het binnenland koud is. De
temperaturen liggen er in het algemeen lager dan in het
binnenland, waardoor de Wadden op zeer hete dagen vaak het
aangenaamste gebied van Nederland zijn. In het najaar en de
winter kan het er
echter guur zijn met stormachtige wind en
buien. De minste kans op regen heeft het Waddengebied in
het
voorjaar wanneer het
nog koude
zeewater de buienactiviteit
onderdrukt. Maar ook in de zomer zijn de Waddeneilanden
droger dan de rest van Nederland. Toch vallen dan de
zwaarste buien en niet alleen in de zomer maar ook in
september of oktober. Dan is het zeewater en het water van
de Waddenzee nog relatief
warm waardoor de buien een extra
impuls krijgen activeert |
| |
| Walker Cel: |
| De Walker Cel is genoemd naar de Engelse natuurkundige Sir
Gilbert Walker. Het gaat hier om een min of meer gesloten
luchtcirculatie waarbij
de lucht opstijgt boven de westelijke
Stille Oceaan om dan
naar Peru te stromen en daar weer te dalen als gevolg van subsidentie in hogedruk. Vervolgens keert de lucht onderin
de atmosfeer weer terug naar zijn oorsprong met behulp van
de oostelijke passaatwinden. Het proces begint dan weer
opnieuw en is de circulatie rond. |
| |
| Wallcloud: |
| Lage uitzakking onder de wolkenbasis. Veelal is it het
voorstadium voor een tornado. De wallcloud is soms zo laag,
dat ze tot bijna op het aardoppervlak hangt. |
| |
| Warm conveyor belt: |
| Lett.: warme transportband. Sterke zuidelijke stroming met
warme en vochtige lucht in een relatief smalle en ondiepe
laag aan de voorzijde van een koufront. Nabij het front gaat
de
warm conveyor belt vaak samen met zware neerslag, soms
zelfs onweer. Op satellietfoto's is dit verschijnsel vaak
goed herkenbaar aan de smalle en scherp begrensde strook
bewolking aan de voorkant van het koufront. |
| |
| Warme Golfstroom: |
| De warme Golfstroom is een belangrijke transportband van
relatief warm water in de Atlantische Oceaan. De stroming
gedraagt zich als een slingerende rivier met draaikolken en
opwellende en zinkende bellen van koud en warm water. De
Golfstroom begint in de Golf van Mexico (vandaar de naam) en
brengt warm water naar het noordelijk deel van de
Atlantische Oceaan. Omdat het water daar relatief zout is
kan het na afkoeling naar beneden zinken, waarna het in
zuidelijke richting terugstroomt. Het weer en met name de
temperatuur in West-Europa is sterk afhankelijk van de
zeewatertemperatuur in het noorden van de Atlantische
Oceaan. Een relatief warme oceaan houdt de temperatuur in de
wijde omtrek op gematigd niveau. Er is een heel kleine kans
dat de Noord-Atlantische Golfstroom verzwakt. Dat zou op het
noordelijk halfrond leiden tot een vrij abrupte en
aanzienlijke daling van temperatuur. |
| |
| Warme dagen: |
| Een dag waarop de maximumtemperatuur een waarde van ≥ 20°C
of hoger wordt bereikt noemen de klimatologen een warme dag.
De eerste warme dag van het jaar valt meestal in april, maar
in 1961 en 1990 was dat in De Bilt al op 17 maart het geval,
terwijl we in 1983 tot 31 mei moesten wachten vóór de grens
van 20 graden werd bereikt. In Limburg en Brabant worden
deze waarden in het algemeen eerder in het jaar bereikt: in
1920 noteerde Maastricht al op 19 februari een temperatuur
van ruim 20 graden. In De Bilt telt een jaar normaal 77
warme dagen. |
| |
| Warme luchtstreek: (hete luchtstreek) |
| Gebied op aarde begrensd door de 18°C-isotherm van de
koudste maand. De gemiddelde temperatuur in dit gebied daalt
dus niet onder de 18°C. Deze grens is gekozen op basis van
de klimaatindeling volgens Köppen. |
| |
| Warme massa: |
Het weerbeeld dat bij een bepaalde luchtsoort hoort, wordt
in sterke mate bepaald door de toestand van het
aardoppervlak, waarboven die luchtsoort zich op dat moment
bevindt.
De temperatuur van het aardoppervlak, bijvoorbeeld,
bepaalt mede of de opbouw van de atmosfeer in de onderste
niveaus stabiel dan wel onstabiel is. Wanneer de temperatuur
van die
lucht hoger is dan die van het onderliggende
aardoppervlak, wordt gesproken van warme massa. De opbouw
van warme massa is daarom stabiel: er is weinig of geen
uitwisseling met hogere luchtlagen. De invloed van de
wrijving blijft daardoor vooral beperkt tot die onderste
niveaus, waarin de wind dan ook vrij sterk gekrompen zal
zijn en weinig schommelingen in richting en snelheid zal
vertonen. Bij een hoge vochtigheid zal in een warme massa de
hemel nagenoeg bedekt zijn met stratus
of stratocumulus.
Hieruit kan bij voldoende dikte gelijkmatige lichte neerslag
vallen.
Bij een laag vochtigheidsgehalte van de lucht zal
het in warme massa onbewolkt zijn. In een warme massa hopen
alle stof- en vochtdeeltjes zich
op in de onderste luchtlaag
en kunnen niet ontwijken naar hogere luchtlagen. Het zicht
is dan ook meestal matig of slecht en vooral in de
wintermaanden komt er (soms zeer)
hardnekkige mist voor. Bij
voldoende afkoeling aan het aardoppervlak tijdens de nacht
kan warme massa overgaan in koude massa. Ook invloeden van
land en zee kunnen bij deze transformatie een rol spelen. In
het voorjaar, bij een relatief koud zeeoppervlak, kan warme
massa, eenmaal boven land aangekomen, overgaan in koude
massa. Het kustgebied is dan
nog wel bewolkt, maar verder
landinwaarts breekt de bewolking en wordt duidelijk cumuliform. In het najaar gebeurt vaak het omgekeerde, met
als gevolg dat dan boven land uitgestrekte wolkenvelden
ontstaan. |
| |
| Warme sector: |
| Het gebied tussen een warmte- en een koufront. |
|
| Warmtefront: |
| Tamelijk smalle overgangszone tussen twee luchtsoorten met
uiteenlopende eigenschappen, bijvoorbeeld verschillen in
temperatuur, relatieve vochtigheid en stabiliteit. Bij de
passage
van een warmtefront stroomt relatief warmere lucht
binnen. Op de weerkaart wordt een warmtefront aangegeven
door middel van een lijn met aan de voorzijde halve zwarte
bolletjes.
Het passeren van een warmte gaat vergezeld van
karakteristieke verschijnselen, zoals bewolking, een sterk
aanwakkerende wind, aanhoudende neerslag (regen, motregen of
sneeuw overgaand
in regen) en vermindering van het zicht of
mist. |
|
| Warmtefrontgolf: |
| Frontale storing in een warmtefront. Warmtefrontgolven zijn
doorgaans stabiele golven en ontwikkelen zich dan ook niet
verder tot een nieuw lagedrukgebied. |
| |
| Warmtefrontocculsie: |
Occlusie in het verlengde van het warmtefront, waarbij de
lucht aan de voorkant van het warmtefront kouder is dan de
lucht achter het koufront.
Op een weerkaart wordt een warmtefrontocclusie doorgaans
aangegeven met een onderbroken rode lijn met daarachter een
blauwe lijn of door
een zwarte lijn met in de
bewegingsrichting afwisselend halve cirkeltjes
en
driehoekjes, waarvan de halve cirkeltjes zijn opgevuld. |
| |
| Warmtegetal: |
| Een methode voor de tussentijdse balans, van de warmte in
een jaar, is het warmtegetal. Die waarde wordt berekend door
het aantal graden dat
de gemiddelde etmaaltemperatuur van
elke dag boven de 18,0°C
ligt op te tellen. Een dag met gemiddeld over 24 uur een
temperatuur van 20,2°C draagt dus 2,2 bij aan het
warmtegetal. Zo komen we uiteindelijk tot een totale som die
het mogelijk maakt de watmte in een jaar te classificeren.
Het warmtegetal hoeft zich niet noodzakelijkerwijs te
beperken tot de klimatologische zomermaanden juni, juli en
augustus. |
| |
| Warmte-index: |
De warmte-index is een getal dat aangeeft hoe een mens
gemiddeld een temperatuur in combinatie met een bepaalde
vochtigheidsgraad beleeft,
hoe hij of zij dit aanvoelt. Het is een
beetje te
vergelijken met de Windchill die de gevoeltemperatuur
aangeeft uit een combinatie van de luchttemperatuur en
heersende windsnelheid. Bij de warmte-index of zoals de
Amerikanen het de
Heat-Index noemen wordt met een
ingewikkelde formule die gevoelstemperatuur berekend. Een
hoge luchtvochtigheid (vochtige lucht) maakt het snel
benauwd of broeierig en bij een temperatuur hoger dan ca. 20
graden voelt dat al snel onplezierig aan. Bij 30 graden
voelt de warmte immers bij een droge lucht (lage
vochtigheidsgraad) beter aan dan bij vochtige lucht. U weet
dat waarschijnlijk zelf wel. Nu is de warmte-index van 30
graden en 90 % omstreeks 35 graden en bij 30 %
ongeveer 27 graden. |
|
Warmte-index
|
Gevaren
voor de gezondheid |
|
26.7 - 32.2 °C |
Pas
op.
Vermoeidheid mogelijk bij langdurige blootstelling en-of
fysieke inspanning. |
|
32.2 - 40.6 °C |
Pas
erg goed op.
Zonnesteek, hittekrampen, uitputting mogelijk bij langdurige
blootstelling en-of fysieke inspanning. |
|
40.6 - 54.4 °C |
Gevaarlijk.
Zonnesteek, hittekrampen waarschijnlijk. Hitteberoerte
mogelijk bij langdurige blootstelling en-of fysieke inspanning. |
|
> 54.4 °C |
Extreem
gevaarlijk.
Hitteberoerte of zonnesteek zeer waarschijnlijk bij
langdurige blootstelling. |
| Door positieve temperatuurafwijkingen ten opzichte van
normaal op te tellen en negatieve afwijkingen af te trekken,
wordt het warmteoverschot bepaald. |
|
| Warmteplafond: |
| Populaire benaming voor een inversie. |
| |
| Warmtestraling: |
De zon levert dankzij zijn straling de energie om
luchtstromingen (wind) op aarde op gang te brengen. Ongeveer
de helft van de zonnestraling
wordt opgenomen door het aardoppervak en omgezet in warmte.
Een ander deel wordt opgenomen door wolken en de atmosfeer
zelf of
gereflecteerd. De aarde zelf straalt de warmte ook uit. De
inkomende zonnestraling en de uitgaande straling vanaf de
aarde zijn min of meer in balans. Toevoer van gassen, zoals
CO2 en andere verontreiniging door menselijke invloeden kan
het evenwicht ernstig verstoren en leiden tot versterking
van het broeikaseffect en opwarming. |
| |
| Warmtesom: |
| De warmtesom is een goede maat voor het karakter van de
zomer. Net als in de winter, bestaan er ook voor de zomer
verschillende karaktergetallen die aangeven in welke mate de
zomer “koel”, “gemiddeld”, “warm” of zelfs “heet” verloopt.
De Nederlander IJnsen heeft, net als voor de winter, een
getal ontwikkeld dat loopt van 0 (voor de koelst mogelijk
zomer) tot
100 (de warmst mogelijke zomer). De formule
waarmee dit getal kan worden berekend is echter nogal
ingewikkeld en kan eigenlijk pas aan het eind van het
zomerseizoen worden toegepast en is zodoende niet geschikt
om in de loop van de zomer een tussenstand op te maken. |
| |
Voor degenen die zélf temperaturen meten, is de methode die
Hellmann heeft ontwikkeld, beter geschikt. Net als in de
winter, maakt Hellmann bij deze methode gebruik van de
gemiddelde etmaaltemperatuur. Ligt in de winter de grens bij
0.0 graden en gaat het uiteraard om de koudere dagen,
in de zomer ligt de grens bij 18.0 graden en gaat het
natuurlijk om
de dagen die warmer verlopen. Alle
overschotten boven de 18 graden worden voor dit zomergetal
bij elkaar opgeteld. Zo scoort een dag met een gemiddelde
etmaaltemperatuur van 20.0 graden dus 2 punten (20.0 – 18.0
= 2.0), een dag van 18.7 graden 0.7 punten en iedere dag van
18.0 graden of kouder dus niets. Dit goed bruikbare
zomergetal zal aldus in een zeer
koele zomer zeer klein
blijven, maar zal gedurende een langdurige, warme zomer tot
ver boven de honderd oplopen. Dit Hellmanngetal, dat we in
het navolgende het “zomergetal” zullen noemen, leent zich
ook uitstekend om na iedere dag een tussenstand op te maken. |
| |
De grens van 18 graden is niet willekeurig gekozen. Bij
temperaturen van 18 graden of hoger blijken planten optimaal
te kunnen groeien, als het kouder is treedt er in meer of
mindere
mate (afhankelijk van de soort) “koudestress” op,
die de groei belemmert, of helemaal doet stoppen.
Zo ligt die grens bij gras bijvoorbeeld op 10 graden, maar
voor de meeste tropische planten bij
18 graden. |
| |
| Water: |
Een van de belangrijkste en meest algemene stof op aarde,
waarvan de molekulen uit twee atomen waterstof en een atoom
zuurstof bestaan.
Zuiver water heeft geen kleur, reuk of smaak.
Water speelt
een belangrijke rol in het weer. Vrijwel al het water
bevindt zich in zeeën, oceanen,
meren en rivieren maar een heel klein deel, slechts 0,0005%
van de totale hoeveelheid, zit in
de atmosfeer. Daar komt water voor in de vorm van damp
(waterdamp), in vloeibare vorm (druppeltjes waaruit wolken
bestaan, dauw, nevel, mist of regen) of in vaste vorm (ijskristallen in wolken, sneeuw,
rijp of hagel) |
| |
| Waterdamp: |
| Water in de atmosfeer is meestal aanwezig als onzichtbaar
damp (waterdamp). Als er veel waterdamp in de atmosfeer zit
is het zicht minder goed. Bovendien is het bij warm weer dan
drukkend warm of benauwd. De hoeveelheid vocht in de
atmosfeer wordt aangegeven door middel van de
relatieve vochtigheid. Een andere maat is de dampdruk: de
kracht die door de waterdampmolekulen in de lucht wordt
uitgeoefend op een vierkante meter, net als de luchtdruk
uitgedrukt in Pascal (Pa). |
| Waterhoos: |
| Een waterhoos is een klein trechtervormig slurfje
veroorzaakt door snel draaiende luchtbewegingen. Waterhozen
zijn in Nederland soms onder de wolken zichtbaar boven de
Noordzee, de Waddenzee en het IJsselmeer. Als zo'n slurf het
wateroppervlak raakt en water opzuigt, wordt dit
verschijnsel een waterhoos genoemd. |
| |
| Een waterhoos is doorgaans een betrekkelijk onschuldige vorm
van een windhoos.
Boven land verliest de hoos meestal
zijn kracht. Alleen in
zeldzame gevallen behoudt de waterhoos voldoende kracht
langs de kust om ongelukken te veroorzaken en schade aan te
richten. |
| |
Waterhozen komen vooral in de tweede helft van de zomer en
het najaar voor, wanneer het relatief warme zeewater de
vorming
van buien bevordert. Die buien ontstaan vooral in
koude
uit
de poolstreken afkomstige lucht waarbij grote
temperatuurverschillen optreden tussen het
zeewater en de
lucht daarboven. Jaarlijks worden voor de Nederlandse kust
en boven het IJsselmeer een tiental waterhozen gezien.
Waarschijnlijk komen er in werkelijkheid meer
voor,
maar niet alle hozen worden opgemerkt.
Op 17 augustus
1953 zijn boven het
IJsselmeer in anderhalf uur tijd 18 waterhozen waargenomen. |
| |
Vooral wie zich op het water bevindt, moet bedacht zijn op
waterhozen. Het windveld is in de
regel veel minder sterk
dan
bij windhozen, maar sterk genoeg om voorzichtigheid in
acht te
nemen. Meer algemeen: watersporters doen er
verstandig aan om, wanneer een flinke bui in aantocht is, zo
snel mogelijk de kant op te zoeken en het water te verlaten.
Afgezien van hozen gaan zware buien vaak vergezeld van
windstoten en onweer. |
| |
|
Waterkoud: |
Vooral wie zich op het water bevindt, moet bedacht zijn op
waterhozen. Het windveld is in de
regel veel minder sterk
dan
bij windhozen, maar sterk genoeg om voorzichtigheid in
acht te
nemen. Meer algemeen: watersporters doen er
verstandig aan om, wanneer een flinke bui in aantocht is, zo
snel mogelijk de kant op te zoeken en het water te verlaten.
Afgezien van hozen gaan zware buien vaak vergezeld van
windstoten en onweer. |
|
|
 |
Waterhoos
25 augustus 2005
(foto: Frits Meijer) |
|
 |
De baan
van de rampzalige stormdepressie tussen
30 januari en 2 februari 1953 (bron: KNMI) |
|
|
|
Watersnoodramp: |
| De Watersnoodramp in de nacht van 31 januari op 1 februari
1953 was zonder twijfel de ergste natuurramp van de vorige
eeuw. In het zuidwesten van ons land verdronken 1836 mensen
en tienduizenden dieren. Een noodlottige samenloop van
omstandigheden - het tijdstip van de extra verhoging van het
water viel in het toen nog slecht beveiligde Zeeland samen
met dat van het astronomisch hoogwater- zwiepte het water
tot ongekende hoogten. In de loop van 31 januari, daags voor
de ramp, werd duidelijk dat ons land aan de vooravond stond
van een ramp. De bezorgde meteorologen van het KNMI deden er
alles aan om de bevolking en de autoriteiten te waarschuwen
maar de alarmerende boodschap drong niet overal door. |
| |
Op onze website vindt u een interview over de gebeurtenissen
tijdens de herdenking in
2003 gehouden met oud KNMI-meteoroloog K.R. Postma (1913-2005), één van de
verantwoordelijke meteorologen in die dagen (zie Verder
lezen- Watersnoodramp 1953, ergste natuurramp van de 20e
eeuw, KNMI sloeg alarm maar dat drong niet overal door).
Vijftig jaar na de Watersnoodramp vond op het KNMI een
symposium plaats over de voorspelbaarheid van stormrampen.
Met de huidige technieken en kennis van zaken kan
zo'n storm tegenwoordig veel beter voorspeld worden.
Bovendien heeft het KNMI tegenwoordig middelen tot zijnbeschikking om tijdig en nadrukkelijk te waarschuwen,
zoals het Weeralarm. |
| |
| Sinds
1953 is flink geïnventesteerd in kustbeveiliging en een
storm zou nog veel zwaarder moeten zijn om de dijken te doen
breken. Het KNMI doet onderzoek naar stormen en gaat na hoe
extreem stormen en stormvloeden kunnen worden in ons huidige
en toekomstige klimaat. |
|
| |
| Watertemperatuur: |
| De temperatuur van het water in de zee, rivieren en meren
varieert met de seizoenen. Water verandert echter langzamer
van temperatuur dan land waardoor de zee in het voorjaar
geleidelijk warmer wordt en na de zomer
nog lange tijd warm
blijft. De hoge temperatuur van het zeewater is in
koude vochtige lucht een belangrijke voedingsbron voor
buien. In het najaar regent het daardoor langs de kust meer
dan landinwaarts. |
| |
Zeewatemperatuurkaarten worden door het KNMI geproduceerd op
basis van beelden van de Amerikaanse NOAA weersatellieten.
Wekelijks worden compositietbeelden gemaakt van de zeeën in
Europa en een deel van de Noord Atlantische Oceaan die een
goed beeld gevenvan de temperatuurverdeling van het water aan de
oppervlakte. Het KNMI maakt ook temperatuurverwachtingen
voor de rivieren. Daarvoor wordt gebruik gemaakt van het
"ijsgroeimodel," waarmee de temperatuur wordt berekend van
een "kolom" water van 2 meter diepte. Watertemperaturen
zijn
van groot belang voor energiecentrales en milieu in
verband met de vorming van algen, bacteriën, botulisme, de
toestand van ons zwemwater
en koeling van oppervlaktewater voor energiecentrales. |
| |
| Waterwolk: |
| Wolk waarin uitsluitend, al dan niet onderkoelde,
waterdruppeltjes voorkomen. Boven het nulgradenniveau zijn
de wolkendruppels in onderkoelde toestand. Hoe lager de
temperatuur in
de wolk, des te groter de kans dat de
onderkoelde waterdruppels bevriezen. Boven een zekere hoogte
(niveau) zal al het onderkoelde water overgaan in ijs. De
temperatuur waarop dat gebeurt varieert
sterk van wolk tot
wolk, namelijk van -15 tot -40°C. In de meeste wolken zullen
echter bij een lagere temperatuur dan -23°C alleen maar
ijskristallen voorkomen. |
| |
| Weer: |
Het weer kan omschreven worden als het geheel van de
meteorologische elementen die op een bepaalde plaats of tijd
merkbaar zijn. Het is dus
een momentopname van weerbepalende factoren zoals luchtdruk,
temperatuur, vochtigheid, wind wolken en neerslag. De
weersgesteldheid is
minder gebonden aan plaats en tijd en heeft betrekking op
het weertype: guur, schraal, waterkoud, zacht lenteweer enz.
Het klimaat is de gemiddelde weersgesteldheid over een
langere periode in een bepaald gebied. |
| |
| Weeralarm: |
| Het Weeralarm is een speciale en ernstige waarschuwing van
het KNMI bij extreme weersomstandigheden die gevaar of
overlast opleveren voor de hele samenleving. Een Weeralarm
wordt uitsluitend gegeven bij specifieke
weersomstandigheden: een zware storm, zeer zware storm of
orkaan,
zeer zware windstoten, gladheid door sneeuw of ijzel of een
sneeuwstorm
en zwaar onweer. De verschijnselen moeten zich
op grote schaal
voordoen, dat wil zeggen in een gebied ter grootte van
minstens 50 bij 50 kilometer (of over een lengte van
minstens
50 kilometer). Het KNMI-Weeralarm is in het jaar
2000 ingevoerd na een proefperiode van twee jaar. De
criteria voor het Weeralarm zijn vastgesteld in nauw overleg
met de private sector:
Meteo Consult, Weathernews en
particuliere weervoorlichters. De opzet is tot stand gekomen
in samenwerking met het Crisis Onderzoek Team (COT), KLPD,
TIC, ANWB en de omroepen. |
| |
| Weeramateur: |
| Het weer wordt ook gevolgd door hobbyïsten. In ons land zijn
honderden weeramateurs actief met meteorologische
waarnemingen en andere weerkundige activiteiten. De meeste
hobbyisten zijn aangesloten bij de Vereniging voor Weerkunde
en Klimatologie. Het KNMI, dat van oudsher goede contacten
onderhoudt met de amateurwereld, maakt naast het
professionele waarnemingsnet structureel gebruik van
waarnemingen door weeramateurs. Vooral bij gevaarlijk weer,
zoals zware hagelbuien, wolkbreuken en hozen kunnen
meldingen van deze vrijwillige waarnemers zeer nuttig zijn
voor de korte-termijn weersverwachtingen. De informatie kan
ook meegenomen in de actuele berichtgeving over het weer. |
| |
|
Weerballon: |
Twee keer per dag worden vanaf het waarneemterrein van het
KNMI in De Bilt weerballonen opgelaten. Het doel
van deze
met helium gevulde ballonnen is de metingen bij het
aardoppervlak aan te vullen met gegevens van de bovenlucht.
De resultaten worden radiografisch naar De Bilt gestuurd,
vandaar dat weerballonnen radiosondes worden genoemd. |
| |
| De
sonde bereikt doorgaans een hoogte tussen 20 en 30
kilometer. Tijdens de vlucht, die één
tot twee uur duurt,
worden metingen verricht van temperatuur, luchtvochtigheid
en luchtdruk. Uit de positie van de sonde worden
windrichting en -snelheid berekend. Als de radiosonde omhoog gaat komt hij in steeds ijlere
lucht. De (rubber) ballon zal dus groter en groter worden en
vroeger of later klappen. De radiosonde komt dan aan de
parachute naar beneden. Helaas zijn gewone radiosondes
slechts één maal te gebruiken.
Wie zo'n sonde vindt mag hem behouden of kan hem inleveren
bij het klein chemisch afval
of voor verdere verwerking terugsturen naar het KNMI. |
|
|
 |
| |
|
Weerbeïnvloeding: |
Kunstmatige beïnvloeding van het weer gebeurde al in de
achttiende eeuw, toen militairen uit Oostenrijk
probeerden
wolken lek te schieten.
In 1896 werd een hagelkanon
uitgevonden om hagelbuien te bestrijden,
maar een succes is het niet geworden. In de jaren dertig van
de twintigste eeuw voerde de Nederlander Veraart
experimenten uit om neerslag in wolken op te wekken.
Met name in Rusland wordt die techniek, waarbij
wolken
worden bestrooid met kristallen zilverjodide nog steeds
toegepast. Met name in Zuid-Europa worden granaten afgevuurd
op hagelbuien
om de hagelstenen te verkleinen en zo de
eventuele schade aan druiven te voorkomen |
| |
Ook in Nederland en België worden soms hagelkanonnen ingezet
maar het effect daarvan is nooit bewezen. Daarnaast worden
in de Verenigde
Staten experimenten uitgevoerd om tropische
cyclonen te temmen en mist te bestrijden. Opzettelijke
weerbeïnvloeding als oorlogswapen is op
18 mei 1977 in de ban gelegd dankzij een verdrag in Genève,
dat door
34 landen is ondertekend, waarin is geregeld dat
opzettelijke weers- veranderingen niet als oorlogswapen
ingezet mogen worden. |
| |
| Weerboei: |
In de oceanen en grote zeeën drijft een aantal boeien, die
voorzien zijn van meteorologische meetinstrumenten. De
informatie over luchten zeewatertemperatuur,
luchtvochtigheid, luchtdruk, wind en zeegang wordt door
middel van een zender (vaak via communicatiesatellieten)
naar landstations gestuurd. De boeien zijn doorgaans niet
aan de bodem bevestigd,
maar drijven los rond.
De posities
van de boeien worden bewaakt
aan de hand van de signalen die ze uitzenden. Zodra zo'n
boei te dicht in de buurt van een kust komt, wordt zij
opgevist en elders weer uitgezet. |
| |
| Weercijfer: |
| In de loop der jaren zijn verschillende pogingen ondernomen
om de kwaliteit van het weer aan te geven. Het weercijfer is
een eenvoudige methode
om met behulp van één cijfer voor het algemene publiek de
kwaliteit van het weer te beschrijven. Het weercijfer, dat
de weeramateurs midden jaren zeventig hebben geïntroduceerd,
kan variëren van 0 (slechtste weer) tot 10 (mooiste weer) en
geldt uitsluitend voor het weer overdag, tussen
7 en 19 uur. Afhankelijk van de hoeveelheid wolken, de duur
van de neerslag en de windsterkte worden punten in mindering
gebracht van de 10 die wordt gegeven voor een zonovergoten
droge dag met weinig wind. Het slechtst denkbare weer met
langdurig neerslag en harde wind resulteert in
weercijfer 0.
Het KNMI experimenteert met weercijfers op een simpele
manier en in één oogopslag een beeld te geven van de
regionale
kwaliteit van het weer. |
| |
| Weercodetabel: |
Tabel aan de hand waarvan de weercode kan worden bepaald. De
tabel geeft een honderdtal mogelijkheden, verdeeld in tien
groepen (decaden),
die elk een groep weersverschijnselen beschrijven. Zo gaat
de tweede decade (ww = 20 t/m 29) over de neerslag in het
afgelopen uur. De derde decade (ww = 30 t/m 39) wordt
gebruikt bij zichtvermindering door dwarrelstof, driftsneeuw
e.d.
De ww-codes 40 t/m 49 gaan over mist in de directe
omgeving van de waarnemer in diverse intensiteiten. Decade 5
gaat over motregen, decade 6 over regen, decade 7 over
sneeuw, decade 8 over diverse soorten buien (niet met
onweer) en de decade 9 (ww = 90 t/m 99) over onweer op het
waarnemingstijdstip of in het afgelopen uur.
Alle andere verschijnselen zijn in principe in de eerste
twee decaden (ww = 00 t/m 19) te vinden. |
| |
| Weer- en Verkeeralarm: |
| Als zich extreme weersomstandigheden kunnen voordoen die grote problemen opleveren voor het verkeer kan een Weer- en Verkeeralarm van kracht worden. Doel van dit gecombineerde alarm is de weggebruiker tijdig en volledig te informeren en daarmee de verkeersveiligheid bij bar weer verder te verbeteren en een ontwrichting van het verkeer zoveel mogelijk te voorkomen. Het Weer- en Verkeeralarm wordt zo mogelijk en op zijn vroegst 24 uur tevoren voorafgegaan door een voorwaarschuwing. Als vrijwel zeker is dat het extreme weer doorzet en op grote schaal gevolgen heeft voor het wegverkeer volgt een Weer- en Verkeeralarm |
| |
 |
|
|
Weerkaart: |
De weerkaart biedt een in één oogopslag een overzicht van
het weer in verschillende landen.
De eerste weerkaarten
werden getekend door Heinrich W. Brandes (1777-1834) van de
universiteit van Breslau. Wat op de tegenwoordige weerkaart
het meest in het oog springt
zijn de hoge- en lagedrukgebieden met de isobaren. Dat zijn
lijnen rond die druksystemen
die plaatsen met elkaar
verbinden waar de luchtdruk hetzelfde is. Naast isobaren
zijn er ook isothermen, lijnen die plaatsen met dezelfde
temperatuur verbinden.
Meteoroloog C.H.D. Buys Ballot maakte in 1852 de eerste
schetsen van kaarten waarop gegevens van wind en luchtdruk
waren te vinden. In Nederland begon het KNMI in 1881 met
de uitgave van dagelijkse weerkaartjes voor een breed
publiek. Lange tijd zijn de kaarten
met de hand
ingetekend, wat zeer tijdrovend was. Tegenwoordig komen de weerkaarten automatisch uit de computer rollen en bevatten ze niet alleen gegevens van het actuele
weer maar ook van het weer dat de komende dagen worden verwacht. |
|
| |
| Weerkamer: |
De ruimte binnen de weerkundige instituten waar de
weersverwachtingen daadwerkelijk worden geproduceerd. In een
continu proces worden meteorologen voorzien van informatie
(actuele waarnemingen, satellietfoto's,
computerberekeningen, etc.) op grond waarvan de
weersverwachtingen worden gemaakt. In dat proces speelt de
computer tegenwoordig een steeds grotere rol. Op de werkplek
van de tegenwoordige meteoroloog zijn een aantal computerschermen te vinden. Enerzijds om de
weerkundige gegevens te verwerken en zichtbaar te maken.
Vervolgens moeten de verwachtingsteksten ook worden
doorgecommuniceerd naar de diverse gebruikers. Ook dat gaat
tegenwoordig
veelal automatisch via computers. |
| |
| Weerlicht: |
Het ontstaan van weerlicht heeft te maken met de sterk
stijgende en dalende luchtstromingen in grote buienwolken en
de elektrische geladenheid
van aarde en atmosfeer. Door de sterke luchtstromingen
kunnen in de wolk concentraties van elektrische ladingen
ontstaan. In onweerswolken stromen sterk stijgende warme
lucht en sterk dalende koude lucht vlak langs elkaar met
snelheden van maximaal 100 kilometer per uur. Met die
stromingen worden ook elektrisch geladen deeltjes
meegevoerd, waardoor de wolk als een enorme condensator
wordt opgeladen.
Daardoor worden ontladingen mogelijk tussen
de wolk en andere wolken of tussen de wolk en de aarde wat
leidt tot bliksem en donder.
Een bliksemstraal heeft een
lengte van gemiddeld 5 tot 6,5 kilometer eneen doorsnede van
ongeveer 2,5 cm. Sommige bliksemstralen zijn veel langer en
kunnen zelfs een afstand van 100 kilometer bereiken. De
temperatuur loopt in de bliksemstraal op tot ongeveer 30,000
graden Celsius en de stroomsterkte varieert
van enkele kiloAmpère (KA) tot zo'n 500 kA. |
| |
| Weermodellen: |
| Voor het maken van weersverwachtingen maken de meteorologen
gebruik van voorspellingsmodellen, ook wel weermodellen
genaamd.
Dat zijn computerberekeningen waarmee de toestand van
de
atmosfeer, dus het weer wordt beschreven. Op basis van
natuurkundige wetten wordt vervolgens berekend welke
wijzigingen te verwachten zijn, dus hoe het weer
waarschijnlijk gaat veranderen. Zo'n model wordt gevoed met
recente gegevens van onder andere wind, luchtdruk,
vochtigheid en temperatuur voor een groot aantal plaatsen op
verschillende hoogtes in de atmosfeer, roosterpunten
genaamd. Het KNMI beschikt over een eigen weermodel speciaal
voor de korte termijn weersverwachtingen, het "High Resolution Limited Area Model" (HIRLAM) ontwikkeld.
Daarnaast maakt het KNMI voor de middellange en lange
termijn gebruik van de weermodellen van het Europees
Weercentrum ECWMF in Reading waarin de meteorologische
instellingen in Europa samenwerken. |
| |
| Weeromslag: |
| Plotselinge weersverandering, vaak gepaard gaande met
heftige weersverschijnselen als fikse buien en veel wind. |
| |
| Weerradar: |
| Een weerradar is een onderzoekradar voor het waarnemen van
neerslag. De antenne zendt een pulsvormig radiosignaal uit
dat voor een deel door neerslag wordt weerkaatst.
Uit de richting van de antenne en uit de tijd tussen het uitzenden
van de puls en de ontvangst van de echo's kan de locatie van
neerslag worden afgeleid. Meestal worden dit op een
beeldscherm getoond. |
| |
| Weerrouteren: |
Bij weerrouteren wordt gebruik gemaakt van het effect dat de
weersomstandigheden hebben op de snelheid van een schip. Bij
hoge golven vaart
een schip langzamer en voor ieder schip
is de relatie tussen
golven en snelheid anders. Bij weerrouteren wordt gekeken
hoe ver een schip per dag kan komen gezien de golven en
wind. Dit geeft een zogenaamd golffront.
Van daaruit wordt
dan weer gekeken naar de volgende dag en zo verder.
De hele route over de oceaan werd vroeger helemaal met de
hand uitgestippeld. Met weerrouteren kunnen soms
tijdwinsten
van meer dan een dag
op de route over de Atlantische Oceaan gehaald worden. |
| |
| Weersatelliet: |
| In 1959 maakte de satelliet Explorer 6 met een tv-camera de
eerste wolkenfoto's. Het satelliettijdperk in de
meteorologie begon officieel op 1 april 1960 met de
lancering van de eerste weersatelliet, de Tiros 1. De
belangrijkste satellietbeelden van Europa zijn tegenwoordig
afkomstig van de Meteosat van de Europese
satellietorganisatie Eumetsat, gevestigd in
Darmstadt.
In
het begin van de 21e eeuw is een nieuw tijdperk aangebroken
met de lancering van Meteosat Second Generation (MSG).
Daarnaast maken de meteorologen gebruik van andere
satellieten
zoals de Amerikaanse Noaa, de Amerikaanse
Eos-Aura (met aan boord het Nederlands-Finse
onzonmeetinstrument OMI), de Europese milieusatelliet
Enivisat en de Europese aardobservatie satellieten van het
type Ers. |
| |
| Er zijn twee soorten weersatellieten: polaire en
geostationaire. Polaire satellieten draaien op een hoogte
van 800 à 900 km rond de aarde.
De aarde draait ondertussen ook verder om
haar as en
daardoor bevindt iedere volgende baan van de satelliet om de
aarde zich dan ook een stuk verder naar het westen. Hoewel
de baan van een polaire satelliet laag is en het signaal dat
de satelliet uitzendt sterk, is er toch nogal wat
apparatuur voor nodig om een dergelijke satelliet goed te
kunnen ontvangen. Het is nodig om de satelliet in zijn baan
om de aarde te volgen met een grote schotel en daarvoor is
dure apparatuur nodig. Het voordeel van polaire satellieten
is dat ze de hele aarde bestrijken. Geostationaire
satellieten draaien
rond de aarde op een zo grote hoogte dat
de aarde even snel om haar as draait als de satelliet om de
aarde. Voor een waarnemer op aarde staan deze satellieten
daarom stil.
Dat kan alleen in een baan precies boven de
evenaar en op een hoogte van ongeveer 36.200 km. Echt
helemaal stil staat de satelliet ook weer niet: hij draait
kleine 'achtjes'.
De satellieten hebben altijd een eigen
aandrijfsysteem zodat ze, indien ze langzaam wegddrijven,
weer teruggebracht kunnen worden naar de oorspronkelijke
positie. |
| |
| Weerschepen: |
Vroeger waren er speciale weerschepen met weerkundigen aan
boord om de waarnemingen te doen. Ons land beschikte tot de
jaren zeventig van
de vorige eeuw over het weerschip
Cirrus en tot halverwege
de jaren tachtig voer de Cumulus. Het weerschip Cumulus is
dertig jaar gebruikt voor meteorologische waarnemingen. In
de jaren zeventig van de vorige eeuw besloot de Amerikaanse
overheid te stoppen met de exploitatie van weerschepen. De
weersatellieten namen de rol geleidelijk over en
uiteindelijk zou het gebruik van weersatellieten de
weerschepen uiteindelijk de das om doen. |
| |
| Weerschip: |
Het weerschepennet heeft zijn ontstaan mede te danken aan de
Tweede Wereldoorlog, omdat de geallieerden waarnemingen
nodig hadden uit het gebied boven de noordelijke
Atlantische
Oceaan. Op een conferentie in 1946 werd het belang van
dergelijke waarnemingen onderstreept. Nederland kocht twee
fregatten die werden omgedoopt tot de weerschepen “Cirrus”
en “Cumulus”, waarmee het KNMI officieel vanaf 1950 zou
deelnemen
aan het waarnemingsnet. De "Cirrus" bleef tot 1970
in de vaart, de “Cumulus” maakte in 1985 zijn laatste tocht met KNMI-waarnemers aan boord. |
| |
| Weerstation: |
| Overal in de wereld zijn weerstations te vinden waar op
eenzelfde manier en met dezelfde instrumenten, volgens eisen
van de Wereld Meteorologische Organisatie, wordt gemeten.
Veel weerstations zijn eind 20e eeuw geautomatiseerd. De
meeste nationale weerinstituten,
zoals het KNMI in Nederland, beheren tegenwoordig een
landelijk net van automatische weerstations, ook wel
AVW-stations genaamd,
een afkorting voor Automatisch gegenereerde Visuele
Waarneming. Naast het automatische meetnet, waar continu
metingen worden verricht van temperatuur, luchtdruk,
straling, wind, vochtigheid en neerslag, beschikt het KNMI
over een netwerk een veel dichter netwerk van vrijwillige
regenwaarnemers. De hoeveelheid neerslag kan van plaats tot
plaats zo sterk verschillen dat een veel dichter netwerk is
vereist om dat goed in
kaart te kunnen brengen. |
| |
| Weersverwachting: |
Het KNMI is bij wet verplicht om weersverwachtingen en
waarschuwingen te maken en deze beschikbaar te stellen aan
de samenleving.
Het Algemeen Weerbericht van het KNMI
bestaat uit actuele
meteorologische waarnemingen, een beschrijving van de
weersgesteldheid, weersverwachtingen voor vandaag, voor de
middellange termijn en voor de lange termijn,
de zonkrachtverwachting, weerberichten voor de
scheepvaart in de Nederlandse kustwateren, de Waddenzee en
het IJsselmeer, weerberichten voor de Noordzee,
waarschuwingen voor
de scheepvaart, waarschuwingen voor het
wegverkeer, waarschuwingen voor extreme weersomstandigheden,
berichten bij calamiteiten waarbij
het
weer een belangrijke rol speelt.Voor het maken van
weersverwachtingen maken de meteorologen gebruik van weervoorspellingsmodellen.
Dat zijn computerberekeningen waarmee de toestand van de
atmosfeer,
dus het weer wordt beschreven. |
| |
| Weervertaling: |
Na de prognose, is de weervertaling de zesde en voorlaatste
stap in de productielijn van een weersverwachting. De door
de meteoroloog gemaakte prognoses van de toekomstige
ontwikkelingen van de weersystemen worden daarbij omgezet in
werkelijke weersverwachtingen. De uiteindelijke inhoud van
de verwachtingen ten behoeve van het algemeen publiek
hangt
af van het betreffende medium. Zo mag een radioverwachting
niet te
lang
en te ingewikkeld zijn, op televisie moeten beeld en geluid
met elkaar overeenkomen. De telefonische weerberichten mogen
iets uitgebreider
zijn. Men kan immers nog eens bellen. De
verwachtingen op Teletekst mogen nog weer wat meer
informatie bevatten, want het beeld kan rustig bestudeerd
worden. In verband met de noodzakelijke eenduidigheid, wordt
er in de diverse weersverwachtingen een min of meer vaste
terminologie gebruikt. Naast deze weersverwachtingen voor
het grote publiek, worden door het KNMI veel gerichte
verwachtingen ten behoeve van zeer uiteenlopende doelgroepen
gemaakt. De inhoud van die specifieke verwachtingen hangt af
van de betreffende doelgroep. De duidelijkste voorbeelden
zijn de verwachtingen ten behoeve van de lucht- en
scheepvaart, die respectievelijk onder verantwoordelijkheid
van de Luchtvaart Meteorologische Dienst (LMD) en de
Maritiem Meteorologische Dienst (MMD) van het KNMI worden
geproduceerd en de regionale landbouwweerberichten, die
vooral door de Algemene Meteorologische Dienst in De Bilt
worden gemaakt.
De allerlaatste stap in de productielijn is
de verzending van de weersverwachtingen naar de diverse
gebruikers. |
| |
| Wegener, Alfred: |
De Duitse meteoroloog Alfred Wegener (1880-1930) bracht als
eerste het idee van de continentendrift naar voren. Zijn
theorie is gebaseerd op de
in elkaar passende oostkust van
Zuid-Amerika en westkust van Afrika. Daarnaast herkende hij
overeenkomsten in gesteentelagen en fossielen aan
weerszijden van de Atlantische oceaan. Zijn theorie bleef
gedurende
30 jaar erg omstreden en is pas rond 1960
geaccepteerd toen nieuw bewijsmateriaal naar voren kwam.
|
| |
| Wegtemperatuur: |
| Temperatuur op en bij de weg. |
| |
| Weichselienijstijd: |
| De naam van de laatste ijstijd tot nu toe. Zie glaciaal. |
| |
| Weinig bewolking: |
| Term die in een weersverwachting kan voorkomen. Deze term
vertegenwoordigt een zonneschijnpercentage van 40 tot 100%.
Deze term wordt
zowel voor overdag als 's nachts gebruikt.
Een
overeenkomende zonneschijnterm is zonnig. |
| |
| Weinig zon: |
| Term die in een weersverwachting kan voorkomen. Deze term
vertegenwoordigt een zonneschijnpercentage van 0 tot 20%.
Een overeenkomende bewolkingsterm is veel bewolking. |
| |
| Wereld Meteorologische Dag: |
De Wereld Meteorologische Dag wordt jaarlijks gehouden op 23
maart en herinnert aan de oprichting van de Wereld
Meteorologische Organisatie (WMO). De WMO is een
overkoepelende meteorologische organisatie van de Verenigde
Naties, voor samenwerking in de meteorologie.
De WMO is van groot belang voor internationale samenwerking
op meteorologisch gebied,
de uitwisseling van
meteorologische gegevens en producten en het bevorderen van
wetenschappelijk onderzoek op het gebied van weer en
klimaat. De verjaardag is voor de WMO een mooie gelegenheid
om wereldwijd aandacht te besteden aan weer en klimaat en
samenwerking in de meteorologie.
|
| Wereld Meteorologische Organisatie (WMO): |
De Wereld Meteorologische Organisatie (WMO) is een
gespecialiseerde organisatie van de Verenigde Naties voor
internationale samenwerking op het gebied van meteorologie
en klimaat. Samen met het "United Nations Environmental
Programme" (UNEP) stelde de WMO het "Intergovernmental Panel
on Climate Change" (IPCC) in, een gezaghebbend orgaan voor
klimaatwetenschappen in relatie tot de politiek. De WMO is
opgericht op
23 maart 1950 als vervolg op de eerste internationale
meteorologische organisatie die in 1873 was opgericht door
KNMI-oprichter en meteoroloog Prof.dr. C.H.D. Buys Ballot
(1817-1890). In totaal zijn 187 landen aangesloten bij deze
overkoepelende meteorologische organisatie.
Zonder de WMO zou het weerbericht in zijn huidige vorm
onmogelijk zijn. De weersverwachtingen zijn immers gebaseerd
op meteorologische waarnemingen
uit de hele wereld.
Eén van
de belangrijkste taken is het in stand houden van een
mondiaal waarnemingsnetwerk.
Dagelijks verwerken 3 mondiale, 187 nationale en 34
regionale meteorologische diensten vijftien miljoen
gegevens. De WMO is van groot belang
voor internationale samenwerking
op meteorologisch gebied,
de uitwisseling van meteorologische gegevens en producten en
het bevorderen van wetenschappelijk onderzoek op het gebied
van weer en klimaat. |
| |
|
Wereldtemperatuur: |
De wereldgemiddelde temperatuur, die de Wereld
Meteorologische Organisatie jaarlijks publiceert, wordt
vastgesteld door de Climatic Research Unit van de University
of Angla en
het Hadley Centre. Het wereldgemiddelde van de temperatuur
is bekend sinds 1861 en
wordt afgezet tegen het langjarig
gemiddelde over de het tijdvak 1961-1990. In de 20e eeuw is
de wereldgemiddelde temperatuur ruim 0,6 graden gestegen. In
de laatste kwart eeuw is de opwarming drie keer zo groot als
in de afgelopen honderd jaar. Het record is de laatste jaren
herhaaldelijk bijgesteld. Volgens het Intergouvernementele
Panel (IPCC) zijn menselijke activiteiten in belangrijke
mate de oorzaak zijn van de warmer wordende wereld. |
| |
| Wervelstorm: |
Algemene naam voor sterke wervelwinden met vaak een
verwoestende uitwerking.
Ze ontstaan in principe alle op ongeveer dezelfde wijze als
zware onweerscomplexen enactieve buienlijnen. Noodzakelijke voorwaarden zijn een hoge relatieve vochtigheid
van de lucht, een bijzonder grote onstabiliteit en een zeer lage luchtdruk. |
|
|
 |
| |
De wervelstormen zijn te onderscheiden naar hun afmetingen. De tropische cycloon heeft een doorsnede van 200 tot 700 km, de tornado heeft afmetingen van 300 m tot ongeveer 1 km en de windhoos is enkele tientallen meters in doorsnede. Aangezien de meeste van deze winden vrij
sterk plaatsgebonden zijn, zijn ze te rangschikken onder de lokale winden. |
| |
| Westcirculatie: |
| West-Oost gericht stromingspatroon in de atmosfeer.
Veroorzaakt 's winters zacht en 's zomers koel weer. |
| |
| Westelijk halfrond: |
Deel van de aarde dat ten westen ligt van 20° WL. Men
19-08-2007 17:16 n westelijk halfrond genomen, omdat dan
Ierland en Groot-Brittannië
op
het westelijk halfrond zouden liggen,
gescheiden van de rest
van Europa. |
| |
| Westerlengte: |
| (WL) Lengteligging van een plaats ten westen van de
nulmeridiaan. Een plaats kan op maximaal 180° WL liggen. |
| |
| West-Europese Tijd: |
| Tijd die voor Groot-Brittannië en Ierland geldt. |
| |
| Wet op het KNMI: |
| Deze wet vormt de wettelijke basis voor de publieke taken
van het Koninklijk Nederlands Meteorologisch Instituut
(KNMI) op het gebied van de meteorologie en andere
geofysische gebieden.
Het treft een voorziening voor de
wijze waarop en de voorwaarden waaronder de werkzaamheden
door het agentschap KNMI worden verricht. De wet is op 1
maart 2002 in werking getreden.
De ministeriële regeling die
is opgesteld als uitvoering
van het bepaalde in de Wet op het KNMI is sinds 5 juli 2002
van kracht. |
| |
 |
| White
Frost |
|
|
|
White frost: |
| 'White frost' is ijsafzetting op schepen als gevolg van
overkomend zeewater. Dit is het tegengestelde van "Black
Frost",
een zeer snelle afzetting van ijs op de bovenbouw
van masten van schepen als gevolg van nevel, mist of
(onderkoelde) motregen. "White frost"
levert veel witter ijs op dan "Black frost". |
| |
| Wielkwikbarometer: |
De schaalverdeling voor een normale kwikbuis, loopt slechts
over plusminus 7 cm.
In de praktijk betekent dat, bij extreme
weersomstandigheden, schommelingen over een afstand van
ongeveer 5 cm. Voor dit probleem zijn verschillende
oplossingen bedacht.
Een van de meest geniale oplossingen is de
wielkwikbarometer, in 1964 gepresenteerd door Hooke. Hierbij
worden de bewegingen van het kwik overgebracht op een
wijzer.In het open been
van de sifonbuis hangt een glazen drijvertje aan een ragdun draadje, dat aan een wieltje bevestigd is. Aan de andere zijde van het wieltje , in de tweede groef, hangt eveneens aan een draadje een glazen contragewichtje.
Deze dient ervoor de
draadjes op spanning te houden. Op de as van het wieltje is
aan de voorzijde een wijzer bevestigd. Door
veranderingen van de luchtdruk stijgt of daalt het kwik in
het open gedeelte van de buis en daarmee ook het glazen
drijvertje. Doordat het draadje van het drijvertje ook aan
het
wieltje is bevestigd, gaat deze draaien en daarmee ook
de wijzer. Op de afleesschaal kan men de veranderingen
dan precies aflezen. |
|
| |
| Wig: |
Gedeelte van een hogedrukgebied waar de luchtdrukgradiënt,
langs de as gemeten, kleiner is dan de luchtdrukgradiënt aan
weerszijden van die as.
De passage van een wig kenmerkt zich
doorgaans door een rustig weertype met opklaringen. |
| |
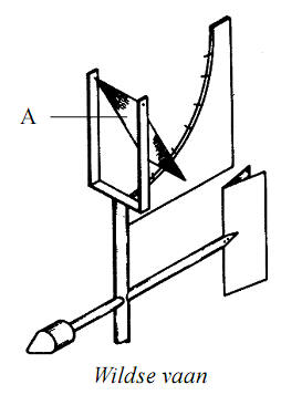
| Wildse vaan: |
Oude drukplaatanemometer, genoemd naar de ontwerper
Wild. Hierbij is een plaat, met afmetingen van 150 x
300 mm en een gewicht
van 200 gram, opgehangen aan
een horizontale as, die dwars op een windvaan is
geplaatst. Op die manier wordt de plaat altijd
loodrecht
op de windrichting gehouden. Langs de
plaat is een boog geplaatst met pennen, die
genummerd zijn van 1 t/m 8. De uitslag van de plaat,
de hoek dus die deze onder invloed van de wind
maakt, is maat voor de windsnelheid. In 1860 werd de wildse vaan officieel aanbevolen
voor gebruik in de
meteorologie. Zelfs tot in de jaren 1950 was deze
anemometer nog leverbaar door de
Duitse firma Fuess.
Hieronder volgt een vergelijking
met de schaal van Beaufort: |
| |
|
Pennr |
Hoek in
graden |
Snelheid |
Beaufort |
|
1 |
0 |
0 |
0 |
|
2 |
4 |
2 |
2 |
|
3 |
15,5 |
4 |
3 |
|
4 |
31 |
6 |
4 |
|
5 |
45,5 |
8 |
5 |
|
6 |
58 |
10 |
6 |
|
7 |
72 |
14 |
7 |
|
8 |
80,5 |
20 |
9 |
|
|
 |
| |
|
Willy-Willy: |
Een stofhoos (dust devil) wordt in Australië aangeduid als
Willy Willy. Een stofhoos is een kleinschalige wervelwind
die doet denken aan een
windhoos. Een stofhoos is echter
veel onschuldiger
en ontstaat op een heel andere manier. Stofhoosjes ontstaan aan het aardoppervlak op warme zonnige
zomerdagen met weinig wind, terwijl windhozen op grote
hoogte in de wolken ontstaan en gekoppeld zijn aan zware
onweersbuien.
De stofhoosjes doen zich meestal voor boven sterk verhitte
zandvlaktes en zijn als een draaiende zuil van stof
zichtbaar. |
| |
| Wind: |
| Beweging van lucht voornamelijk door verschillen in
luchtdruk, de draaiing van de aarde en eventueel de wrijving
met het aardoppervlak. Hoe groter
het verschil in luchtdruk tussen twee plaatsen, hoe harder
het waait, dus hoe groter de winsnelheid. Meestal gaat het
om een horizontale stroming van lucht. De wind kent een
dagelijkse en jaarlijkse gang. In de loop van de dag neemt
de onstabiliteit bij het aardoppervlak toe en daarmee ook de
windsnelheid. |
| |
| Windchill: |
Engelse benaming voor het effect van de wind op de afkoeling
van levende organismen zoals mens en dier. In de wind kan
het een stuk kouder aanvoelen dan uit de wind.
Dit
verschijnsel staat bekend als windchill. Van belang is het
verlies aan warmte (in watts per vierkante meter) door de
wind en het bevriezingsrisco. Om het voor het publiek
tastbaar te maken, wordt de windchill uitgedrukt in een
getal dat vergelijkbaar is met de temperatuur, de windchill
equivalente temperatuur, in ons land gevoelstemperatuur
genoemd. Er bestaan verschillende berekeningsmethoden,
maar in de meeste landen, waaronder Nederland, wordt gebruik
gemaakt van de formule van de Amerikaan Robert Steadman.
Zijn berekening is gebaseerd op het evenwicht tussen
warmteverlies en warmteproduktie van een gezond persoon.
Hij gaat ervan uit dat de kleding is aangepast
aan de weersomstandigheden en dat de persoon in de
buitenlucht wandelt met een snelheid van bijna vijf
kilometer per uur. Bovendien betrekt Steadman in zijn
berekening gegevens van de windsnelheid, luchtvochtigheid en
zonnestraling. |
| |
De tabel maakt gebruik van een recent in Canada ontwikkelde
formule, die inmiddels ook in de Verenigde Staten, het
Verenigd Koninkrijk en IJsland wordt gehanteerd.
Deze
wetenschappelijk onderbouwde methode (Joint Action Group on
Weather Indices) is gebaseerd op het warmtetransport
van het
lichaam naar de huid. De zogenaamde JAG/TI index staat
dichter bij de menselijke ervaring van warmteverlies dan
andere methodes. |
| |
|
Wind snelheid |
Temperatuur |
|
km/u |
m/s |
Bft |
10 |
5 |
0 |
-5 |
-10 |
-15 |
-20 |
-25 |
-30 |
|
5 |
1.4 |
1 |
10 |
4 |
-2 |
-7 |
-13 |
-19 |
-24 |
-30 |
-36 |
|
10 |
2.8 |
2 |
9 |
3 |
-3 |
-9 |
-15 |
-21 |
-27 |
-33 |
-39 |
|
15 |
4.2 |
3 |
8 |
2 |
-4 |
-11 |
-17 |
-23 |
-29 |
-35 |
-41 |
|
20 |
5.6 |
4 |
7 |
1 |
-5 |
-12 |
-18 |
-24 |
-31 |
-37 |
-43 |
|
25 |
7.0 |
4 |
7 |
0 |
-6 |
-12 |
-19 |
-25 |
-32 |
-38 |
-45 |
|
30 |
8.3 |
5 |
7 |
0 |
-6 |
-13 |
-20 |
-26 |
-33 |
-39 |
-46 |
|
35 |
9.7 |
5 |
6 |
0 |
-7 |
-14 |
-20 |
-27 |
-33 |
-40 |
-47 |
|
40 |
11.1 |
6 |
6 |
-1 |
-7 |
-14 |
-21 |
-27 |
-34 |
-41 |
-47 |
|
45 |
12.5 |
6 |
6 |
-1 |
-8 |
-15 |
-21 |
-28 |
-35 |
-42 |
-48 |
|
50 |
13.9 |
7 |
5 |
-1 |
-8 |
-15 |
-22 |
-29 |
-35 |
-42 |
-49 |
|
55 |
15.3 |
7 |
5 |
-2 |
-8 |
-15 |
-22 |
-29 |
-36 |
-43 |
-50 |
|
60 |
16.7 |
7 |
5 |
-2 |
-9 |
-16 |
-23 |
-30 |
-36 |
-43 |
-50 |
|
65 |
18.1 |
8 |
5 |
-2 |
-9 |
-16 |
-23 |
-30 |
-37 |
-44 |
-51 |
|
70 |
19.5 |
8 |
5 |
-2 |
-9 |
-16 |
-23 |
-30 |
-37 |
-44 |
-51 |
|
75 |
20.8 |
9 |
5 |
-2 |
-10 |
-17 |
-24 |
-31 |
-38 |
-45 |
-52 |
|
80 |
22.2 |
9 |
4 |
-3 |
-10 |
-17 |
-24 |
-31 |
-38 |
-45 |
-52 |
| |
|
Windchilltemperatuur: |
| Engelse benaming voor gevoelstemperatuur. |
| |
| Winddruk: |
Kracht per oppervlakte-eenheid die wordt uitgeoefend door de
wind op een vlak dat dwars op de windrichting is geplaatst.
Met name bij het
ontwerpen en dimensioneren van gebouwen en bruggen moet men
terdege rekening houden met de krachten, die de wind op deze
constructies
kan uitoefenen. |
| |
| Wind - en stormwaarschuwing: |
De wind- en stormwaarschuwingen voor de scheepvaart worden
opgesteld in de centrale weerkamaer van het in De Bilt. De
waarschuwingen
worden gegeven wanneer de meteorologen
windkracht 6 of meer verwachten. De extra
stormwaarschuwingen worden op zijn vroegst 6 tot 9 uur vóór
de
storm gegeven, omdat zulke exacte aanduidingen voor een
langere periode vooruit niet mogelijk zijn. Voor
Rijkswaterstaat is een periode van 6 uur ook voldoende om de
nodige maatregelen te nemen. Bij windkracht 10 of meer (in
de zomerperiode vanaf
windkracht 9) geeft het KNMI, mogelijk
een Weeralarm af. |
| |
| Windhoos: |
Een windhoos is een wervelwind (een snel draaiende kolom
lucht) die vaak als een trechtervormige slurf onder een
onweerswolk zichtbaar is.
De hoos trekt met de bui mee en laat door wind en grote
luchtdrukverschillen een spoor van vernielingen achter. Soms
bevat de windhoos objecten die tijdens de tocht over het
aardoppervlak zijn opgezogen. De zichtbare slurf bestaat net
als een wolk uit waterdruppeltjes. De windsnelheden bij
een windhoos kunnen zeer lokaal oplopen tot enkele honderden
kilometers per uur en de passage van een hoos gaat gepaard
met een enorm lawaai. |
| |
| Windkracht: |
De windkracht is de kracht die de wind uitoefent uitgedrukt
in eenheden volgens de schaal van Beaufort, een schaal van 0
tot 12. De Ierse admiraal Sir Francis Beaufort baseerde de
windkracht op de hoeveelheid zeil die een groot schip kon
voeren bij een zwakke bries, storm of orkaan.De winddruk werd uitgedrukt in kilogram per vierkante meter. De schaal geldt dus voor de druk van de wind. Beaufort was de eerste die orde in de
chaos bracht: tot rond 1840 hanteerden zeelieden hun eigen aanduidingen voor de windkracht, die van vader op zoon werden overgeleverd. |
|
Windmeter: |
De wind wordt gemeten op een mast met een cup-anemometer.
Dit instrument werd in 1846 geïntroduceerd door de Ierse
astronoom Thomas Romney Robinson (1792-1882). Het is een
ronddraaiend molentje met drie
of vier halve bollen (cups)
die met stangetjes aan een draaibare as
zijn bevestigd. De halve bollen zijn van binnen hol. De wind
oefent op de holle zijde meer kracht uit
dan aan de bolle kant, waardoor het molentje door
de wind in
beweging komt. De snelheid van de draaiende bollen, die in
een elektrisch signaal wordt omgezet, is een maat voor de
windsnelheid.
Op voorschrift van de Wereld Meteorologische Organisatie
worden windmeters
op weerstations geplaatst in een open
terrein op een mast van
10 meter hoogte. |
| |
| Windrichting: |
In de meteorologie is de windrichting de richting waar de
lucht vandaan komt. Dus bij een westenwind komt de wind uit
het westen en gaat de lucht van west naar oost. De wind
waait in de richting die de pijl op de weerkaart aangeeft:
bij een westenwind wijst de pijl naar het oosten. De windrichting wordt in de weerrapporten vermeld in kompasgraden. 0 en 360 graden is noordenwind, 90 graden is oostenwind, 180 graden is zuidenwind,
270 graden is westenwind. |
|
|
 |
|
Windrichting en snelheid meters |
|
| |
De richting daar tussen, bijvoorbeeld tussen zuid en west worden zuidwest genoemd en westzuidwest is de richting tussen west en zuidwest.
In historische waarnemingsreeksen wordt een nog fijnere indeling gebruikt: west ten noorden betekent tussen noordnoordwest en noord. De wind waait van hoge naar lage druk maar door wrijving met het aardoppervlak en de draaiing van de aarde wordt de luchtstroming iets afgebogen. |
| |
| Windroos: |
Diagram waarbij de windrichtingen worden weergegeven door
middel van stralen. De lengte van de stralen geeft
informatie over de frequentie van
de windrichting, de dikte
van de stralen
zegt iets over de windkracht uit de
aangegeven richting. Als voorbeeld hier de windroos van De
Bilt over het gehele jaar. |
| |
| Windschering: |
Markante horizontale of verticale gradiënt in de
windsnelheid enlof windrichting. De wind heeft bijvoorbeeld
op 100 m hoogte een snelheid van
20 knopen (40 km per uur) uit het zuiden en op
200 m een
snelheid van 50 knopen uit het noorden. Vooral voor de
kleine luchtvaart is een grote windschering gevaarlijk, mede
omdat deze vaak gepaard gaat met veel turbulentie.
Afhankelijk van de aard van de windschering, wordt gesproken
van horizontale windschering of van verticale windschering. |
| |
| Windsnelheid: |
De windsnelheid wordt meestal uitgedrukt in meters per
seconde, knopen of kilometers per uur. De windsnelheid wordt
voor in de meteorologische berichtenuitwisseling bepaald
over periodes
van 10 minuten. Wanneer in het weerbericht
wordt gesproken over windkracht 8 dan wordt verwacht
dat de
windsnelheid gemiddeld over 10 minuten tussen 17,2 en 20,7
m/seconde
(62-74 km/uur) ligt. Zo hoort bij elk van de
dertien klasse nummers volgens de schaal Beaufort een
gemiddelde. In de scheepvaart werkt men met knopen: één
knoop komt overeen met 0,5144 m/seconde. Actuele informatie
bij storm gaat over het 10 minuut-gemiddelde of kortdurende
windstoten. Voor klimatologische statistieken en
vergelijking van stormen wordt gebruik gemaakt van
uurgemiddelden. Klimatologen spreken van een zware storm
wanneer de windsnelheid ergens boven land een uurgemiddelde
haalt van windkracht 10, dat wil zeggen tussen 24,5 en 28,4
m/seconde (89-102 km/uur). |
| |
| Windsprong: |
| Verschijnsel dat tijdens de passage van een front doorgaans
de wind in korte tijd een flink stuk ruimt. Windruimingen
van 90 tot 120° zijn niet ongewoon. Deze windsprong geeft de
meteoroloog
het inzicht dat een front op een bepaalde plaats
op een bepaald tijdstip gepasseerd is |
| |
| Windstil: |
Windkracht 0 op de schaal van Beaufort met een gemiddelde
windsnelheid over tien minuten van 0 tot 1 km/uur of 0 tot 2
meter per seconde en
een variabele windrichting.
Rook stijgt recht of vrijwel
recht omhoog. Planten zijn in rust, vogels volop in de weer
en de herfstdraden zweven in de lucht. Het oppervlak van de
zee is bij windstil weer spiegelglad.
In De Bilt is de wind
gemiddeld over 1971-2000 gedurende jaarlijks 5,2% van de
tijd stil en variabel, in De Kooy bij Den Helder gedurende
slechts 1,3% van de tijd. |
| |
| Windstoot: |
Windvlaag die voorkomt in een situatie met buien. Wanneer
een (zware) bui zich ontlaadt, valt er niet alleen veel
neerslag naar beneden, maar ook
de omringende lucht. Aan het aardoppervlak spreidt die
(koude) lucht zich naar alle kanten uit. Dergelijke
windstoten kunnen gevaarlijk zijn voor met name het
wegverkeer en de kleine lucht- en scheepvaart,
omdat ze
plotseling komen opzetten en ook even plotseling weer
verdwijnen. |
| |
| Wind uit uiteenlopende richtingen: |
| Variabele wind; veranderlijke wind. |
| |
| Windvaan: (zie wilds vaan) |
Instrument om de windrichting te meten. Een vaan bestaat in
de regel uit een dun, smal en relatief hoog blad, dat
verticaal bevestigd is aan een
stang, die door middel van
een verticale as in een horizontaal vlak moet kunnen
draaien. De neus van de windvaan geeft de richting aan waar
de
wind vandaan komt. Wijst de neus naar het westen, dan is er
dus sprake van een westenwind. Evenals
de windsnelheid wordt de windrichting, volgens voorschrift
van de Wereld Meteorologische Organisatie, gemeten op 10 m
boven de grond op vlak en open terrein,
of naar die hoogte herleid. |
 |
|
| Windzak: |
| Is een conische zak van geweven (kunst)stof die aan
weerszijden open is en wordt gebruikt voor het bepalen van
de windrichting en -kracht (door schatting). Doordat deze
zak conisch is (de inlaatopening heeft een groter oppervlak
dan de uitlaatopening), oefent de wind er een bepaalde
kracht op uit waardoor de zak minder gaat "doorhangen" bij
toenemende windkracht. De mate van dit "doorhangen" is een
maat voor de windkracht. Doordat de windzak vrij wordt
opgehangen, kan de windrichting er ook uit afgeleid worden.
Windzakken kan met veelal zien op vliegvelden en op bruggen
en viaducten langs autosnelwegen. |
|
Winter: |
| Eén van de 4 seizoenen. De astronomische winter begint rond 22 december wanneer de nachtperiode het langst is en de dagperiode het kortst. De meteorologische winter omvat de maanden december, januari en februari. In dit seizoen worden meestal de laagste temperaturen opgetekend. |
|
| |
In sommige jaren, onder andere in 2004 en 2005 begint de winter op 21 december; in 2080, 2084, 2088, 2092 en 2096 zelfs al op 20 december. De verschillen in tijdstippen en soms ook data zijn het gevolg van het feit dat het kalenderjaar geen geheel aantal dagen telt, en van het invoeren van een schrikkeldag. De zon staat bij het begin van de winter het laagst boven de horizon en komt in Midden-Nederland op om ongeveer kwart voor negen op en gaat om half vijf in de middag onder. Deze astronomische winter eindigt overigens op 21 maart om 02.00 uur. Het begin van de winter betekent de kortste dag van het jaar, maar dat houdt niet dat de zon dan het laatst opkomt en het vroegst ondergaat. Al vanaf 13 december gaat de zon later onder en pas op 30 december blijft het 's ochtends het langst donker. Dat komt doordat de aardbaan rond de zon niet cirkelvormig is, waardoor de zon in de winter iets sneller beweegt dan in de zomer. Het gevolg is dat de zon nu dagelijks iets later door het zuiden gaat. Ook is de daglengte (het verschil in tijdstip van opkomst en ondergang van de zon) afhankelijk van de geografische breedte. Zo heeft Zuid-Frankrijk
al op 9 december de vroegste zonsondergang en de meest late
zonsopkomst op 3 januari. |
| |
|
Winterdag: |
| Dag waarop de maximumtemperatuur lager dan 0 °C is. |
| |
| Winterse bui: |
Buien, waarin behalve regen ook sneeuw of hagel voorkomt
worden in het weerbericht winterse buien genoemd. In maart
of april ook wel ook wel gesproken van maartse buien.
Meestal hebben we met winterse buien te maken wanneer koude
lucht uit de poolstreken over ons land stroomt.
Het is dan vaak guur met veel wind en lage temperaturen.
Door winterse buien
kan het plotseling glad worden en kan
het zicht sterk teruglopen,
in zware buien tot minder dan 50 meter vergelijkbaar met
zeer dichte mist. In ons land duurt het seizoen, waarin de
neerslag als sneeuw kan vallen en winterse buien mogelijk
zijn in het algemeen van november tot en met april. |
| |
| Wintergetal: |
| Andere benaming voor het koudegetal van Hellmann. |
| |
| Wisselend bewolkt: |
| Term die kan voorkomen in een weersverwachting. Deze term
vertegenwoordigt een zonneschijnpercentage van 20 tot 60% en
hoort bij een typisch Hollandse wolkenlucht: een blauwe
lucht met daarin verspreid cumulus-wolken in diverse
grootten, zoals vaak te zien is bij een noordwestelijke
stroming, en aanvoer van arctische lucht (AL). Eventueel kan
de wisselende bewolking samengaan met buien. Een
overeenkomende
zonneschijnterm is perioden met zon. |
| |
| Wisselvallig weer: |
| Term die kan voorkomen in een weersverwachting, m.n. in de
middellange-termijn- en de lange-termijnverwachting.
Perioden met opklaringen worden afgewisseld met wolkenvelden
en regen of buien, en doorgaans is er van tijd tot tijd
tamelijk veel wind. Een dergelijk weertype mag worden
verwacht bij een westelijke stroming met beurtelings de
passage van storingen en kleine hogedrukgebieden. |
| |
| Witte dauw: |
| Wit afzetsel, bestaande uit bevroren dauw. Uiterlijk lijkt
de witte dauw veel op rijp. |
| |
| Witte Kerst: |
De witte Kerst is een jaarlijks terugkerende hype, waar
meteorologische instituten als het KNMI mee geconfronteerd
worden.
De Deutscher Wetterdienst, het KNMI van onze buren,
krijgt
eind augustus/begin september al de eerste vragen over de
aanstaande Kerst.
Voor een periode
langer dan tien dagen vooruit is er weinig
zinnigs te zeggen over de sneeuwkansen
en zodra de Kerst
binnen de termijn van de tiendaagse valt is het nog steeds
moeilijk. Sneeuwverwachtingen zijn heel lastig te maken,
laat staan een verwachting dat er twee dagen achtereen op
één bepaalde plek (De Bilt) tijdens de ochtendwaarneming een
dekkende sneeuwlaag ligt. Uitspraken daarover hebben, zeker
als ze dagen tevoren worden gedaan,
niet meer betekenis dan
speculaties over dominostenen. Het enige waar op lange
termijn wel iets over te zeggen valt zijn
de klimatologische kansen. In ruim een eeuw is een witte
Kerst
in ons land slechts zeven keer voorgekomen, de laatste
keer in 1981.
Een eenvoudig rekensommetje levert een kanspercentage op van
ongeveer 6%. Let wel dat is de klimatologische kanswaarde en
dat hoeft niet overeen te komen met de kans op een witte
Kerst in een bepaald jaar. |
| |
| Woestijn: |
Een woestijn is een gebied met minder dan 200 mm neerslag
per jaar, waar weinig vegetatie groeit, waardoor er ook
relatief weinig fauna aanwezig
is. Veelal wordt gedacht, dat de grond van woestijnen
onvruchtbaar is, maar dit is vaak juist niet het geval. Na
een regenbui kan een groot deel van
de woestijn ineens zeer sterk begroeid worden, maar de
woestijngrond is niet in staat het water lang vast te
houden. Een stereotiep beeld van een woestijn is dat het een
uitgestrekte kale vlakte met zandduinen en een zeer hoge
temperatuur is. Dit geldt echter voor slechts een klein deel
van de woestijngebieden op aarde. Er zijn ook woestijnen in
de gematigde en de polaire zones. Ook in de Sahara kan het
koud zijn: de temperatuur zakt
er 's nachts regelmatig tot het vriespunt. |
| |
 |
Rots- en
grindwoestijnlandschap in
Wadi Rum, Jordanië |
|
|
 |
|
Zandwoestijn in Libië |
|
|
 |
|
Leemwoestijn in Marokko |
|
| |
| Op basis
van lithologische gronden kunnen we vier soorten woestijnen
onderscheiden: |
1: Rotswoestijnen zijn woestijnen waar de verwering minder
sterk is en het materiaal direct wordt meegenomen door wind
en water dat eventueel
periodiek beschikbaar is en als transportmedium kan
dienen. |
2: Grindwoestijnen zijn het product van oude grindbeddingen
van fossiele rivieren of van het ter plaatse uiteenvallen
van lokaal aanwezige
grindhoudende gesteenten zoals conglomeraat. Het
materiaal dat het grind bijeen heeft gehouden verweert en
verwaait. Het overgebleven
grind vormt een desert pavement. |
3: Zandwoestijnen komen weinig voor op de wereld en ontstaan
alleen als er uit verwering in de omgeving genoeg zand
beschikbaar is. Tevens is er
een ideale situatie nodig wat betreft de windrichtingen.
Deze moeten in evenwicht zijn, anders verwaait het zand en
verdwijnt de zandwoestijn. |
4: Leem- of zoutwoestijnen komen alleen dáár voor waar uit
omliggende gebergtes leem in bekkens is bijeengespoeld en
door verdamping zout
op het oppervlak is komen te liggen. |
| |
In woestijnen bieden oasen vaak de omstandigheden waar ook
mensen kunnen leven. Een oase is een plek in de woestijn,
waar toegang tot water landbouw mogelijk heeft gemaakt.
Wereldwijd vindt er veel woestijnvorming en uitbreiding van
woestijnen plaats.Voorbeelden van woestijnen zijn
de, de Gobi-woestijn, de Kalahari, de, de Negev, de Grote Arabische
Woestijn, de bij en het centrale gedeelte van Antarctica. |
| |
| W.M.O: |
| Wereld Meteorologische Organisatie. |
| |
| Wolkbreuk: |
Een enorme plensbui, die in korte tijd een gebied of wijk
onder water zet, wordt ook wel een wolkbreuk genoemd. Een
bui, waarin het zo hard
regent dat er in 5 minuten ruim 10
mm of meer valt wordt door het KNMI een wolkbreuk genoemd.
In een uur zou er dan meer dan 25 mm kunnen vallen en als
die hoeveelheid wordt gemeten wordt de bui als wolkbreuk in
de klimatologische overzichten van het KNMI gearchiveerd. |
| |
| Wolken: |
Verzameling van uiterst kleine, nauwelijks met het oog
afzonderlijk waarneembare, wolkenelementen, zoals
waterdruppeltjes en ijsdeeltjes, of een mengsel daarvan. De
meeste wolkendruppeltjes hebben een doorsnede van 1/100 tot
1/200 mm, slechts enkele zijn groter dan 1/50 mm. Sommige
wolken bestaan alleen uit waterdruppeltjes, al dan niet
onderkoeld.
Andere bestaan uitsluitend uit ijskristalletjes.
Een derde type is de gemengde wolk, waarin zowel
waterdruppels als ijskristalletjes voorkomen. Men kan wolken
waarnemen omdat de wolkenelementen een zeer
kleine
onderlinge afstand hebben en het (zon)licht erdoor wordt
verstrooid. Wolken bevinden zich in het onderste gedeelte
van de atmosfeer en ontstaan
doordat waterdamp in de
atmosfeer in bepaalde omstandigheden condenseert op daar
aanwezige deeltjes (condensatiekernen).
Een wolk kan op een
aantal manieren weer verdwijnen,
namelijk door uitregenen,
door verdampen, door opwarming of door menging met een
drogere luchtlaag. |
| |
| Wolkenband: (loud band (CB) |
| Dit is een min of meer lange gesloten wolkenbaan met een
lengte-breedte verhouding die groter is dan 4:1. Zij heeft
een breedte van maximaal 1°. Vaak kan de wolkenband
geassocieerd worden met een koudefront. |
| |
| Wolkenbasis: |
| Meestal vlakke en horizontale onderkant van een wolk. |
| |
| Wolkenclassificatie: |
Al heel lang is er de behoefte geweest om beschrijvingen en
classificaties te maken van de wolken, die men dagelijks
waarneemt. Voor de meteoroloog is het bij de analyse van een
bepaalde weersituatie van groot belang om inzicht te hebben
in de diverse wolkenpatronen. Iedere wolk
is het gevolg van
bepaalde meteorologische omstandigheden, van bewegingen
in
de atmosfeer. |
| |
| Aan het begin van de 19de eeuw kwamen de Franse
natuurkundige amarck en de Engelse meteoroloog Howard tot
lijsten met afbeeldingen van wolken. De indelingen van
Lamarck en Howard verschilden niet veel van elkaar, maar die
van de Engelsman vond toch meer weerklank, omdat hij de
wolken voorzag van Latijnse namen, iets waar men vooral in
de wetenschappelijke wereld (plant-, dier-, geneesen
scheikunde), al aan gewend was. Volledig op Howards indeling
geënt, verscheen in 1932 De internationale atlas der
bewolkingen en toestanden van den hemel. Deze wolkenatlas
was samengesteld door een Internationale Commissie voor de
bestudering der wolken, die in 1921 bijeenkwam. |
|
| Wolkendruppel: |
| Vloeibaar wolkenelement. Door verschillende fysische
processen, zoals het Wegener-Bergeron-proces en de
coalescentie, kunnen uit wolkendruppels neerslagelementen
ontstaan. |
|
| Wolkenelementen: |
| Mikroskopisch klein waterdruppeltje of ijskristalletje
waaruit wolken zijn opgebouwd. |
|
| Wolkenflard: |
| Kleine gerafelde wolk, schijnbaar zonder enige structuur.
Bij slecht weer worden zulke wolken wel eens waargenomen
onder een nimbostratus-wolk, de zgn. pannus. |
| |
| Wolkenhoogte: |
| Hoogte boven het aardoppervlak waarop zich de wolkenbasis
bevindt. De wolkenhoogte wordt meestal door de waarnemer
geschat. Bij duisternis
kan de wolkenhoogte worden bepaald met behulp van een
wolkenlicht. In de luchtvaartmeteorologie wordt de wolken
hoogte nog altijd uitgedrukt in voeten (ft), in ander
meteorologisch gebruik doorgaans in meters. In onze omgeving
kan men in de regel uitgaan van de volgende wolkenhoogten: |
| |
|
Wolkensoort |
Hoogte |
|
Stratus |
0 - 1000
mtr |
|
Cumulus
en cumulonimbus |
500 - 1500 mtr
|
|
Nimbostratus
met lichte neerslag
|
1500
- 2000 mt |
|
Nimbostratus
met zware neerslag
|
Lager
dan 1500 mtr
zelden beneden 500mtr |
|
|
|
Wolkensoort |
Hoogte |
|
Stratus fractus en cumulus fractus
|
50
- 500 mtr |
|
Stratocumulus
|
500
- 2500 mtr |
|
Altostratus en altocumulus |
2000 - 6000 mtr |
|
Cirrus;
cirrostratus en cirrocumulus |
6000 - 10000 mtr |
|
| |
|
Wolkensoorten: |
| Wolken worden ruwweg ingedeeld in twee groepen: stapelwoken
en gelaagde wolken. Stapelwolken ontstaan wanneer lucht met
vrij grote snelheid opstijgt. Gelaagde bewolking ontstaat
wanneer uitgestrekte hoeveelheden lucht met betrekkelijk
geringe snelheid opstijgen. Om de wolken met verschillende
ontstaansvormen op verschillende hoogtes te benoemen is door
de
Engelse apotheker en natuurkundige Luke Howard
(1772-1864) in
de 18e eeuw de basis gelegd voor een classificatie. De
wolken, die Latijnse namen hebben gekregen, zoals cirrus
(haarlok, toefje), cumulus (stapel) en stratus (laag,
deken), zijn ingedeeld in families, geslachten, soorten en varëteiten. Dankzij de Duitse dichter en natuurkundige
Johann Wolfgang von Goethe (1749-1832), die zich bezighield
met waarnemingen en beschrijvingen van het weer, kreeg de
wolkenindeling van Howard grote internationale bekendheid. |
| |
| Wolkenstraat: |
Reeks wolken van dezelfde soort, achter elkaar in de
richting van de wind. Rijen van meestal cumulus of
cumulus-achtige wolken die parallel gerangschikt zijn in de
onderste lagen van de atmosfeer. Ze zijn soms waar te nemen
vanop de grond, maar op satellietbeelden zijn ze vaak snel
te herkennen. |
| |
| Wolkentop: |
| Bovenste punt van een wolk. Het kan voor de meteoroloog van
belang zijn om de hoogte van dat punt te kennen. De
temperatuur op dat punt bepaalt namelijk mede de
mogelijkheid van ijsvorming in de wolk, waardoor de kans op
neerslag een stuk groter wordt. |
| |
| Wolkenvelden: |
Term die kan voorkomen in een weersverwachting. Er zijn
velden stratocumulus en altocumulus die overdrijven, zodat
de hemel nu eens voor een groot deel bedekt is en dan weer
bijna onbewolkt. De term vertegenwoordigt een gemiddeld
zonneschijnpercentage van 20 tot 60% en wordt
zowel voor
overdag als 's nachts gebruikt. De meest gebruikte
overeenkomende zonneschijnterm is perioden met zon. |
| |
| Wolkenvinger: |
| Dit is een uitloper van een frontale wolkenband. Hier breekt
het koudefront. De wolkenvinger wijst meestal naar
zuidelijke richtingen. |
| |
| Wolkenvorming: |
Een wolk kan op meerdere manieren ontstaan, maar het
principe is altijd gelijk: een hoeveelheid lucht wordt
afgekoeld tot het dauwpunt, waarna
de in de lucht aanwezige waterdamp
tegen condensatiekernen
condenseert. Dit proces voltrekt zich bijvoorbeeld als een
hoeveelheid lucht wordt gedwongen een stijgende beweging te
ondergaan, zoals bij convectie (de convectieve bewolking),
bij gedwongen optilling over bergruggen en langs
frontvlakken wanneer een koude luchtsoort zich onder een
warmere luchtlaag dringt, zoals dat in
lagedrukgebieden op
grote schaal voorkomt (de frontale bewolking). |
| |
Tijdens de stijgende beweging koelt de lucht in een
droog-adiabatisch proces af. De hoogte waarop de condensatie
plaatsvindt, het condensatieniveau, hangt af van de
vochtigheid in die lucht. Is de vochtigheid van de
opstijgende lucht groot, dan zal de wolkenbasis laag zijn;
bij van origine drogere lucht is de wolkenbasis hoger.Boven
het condensatieniveau zal de
afkoeling in een verzadigdadiabatisch proces plaatsvinden. Bewolking kan ook
ontstaan door contact van vochtige lucht met een koud
oppervlak. De luchtlaag koelt dan ook af, met als gevolg de
vorming
van dauw, rijp, mist, of laaghangende bewolking.
Soms kunnen wolken ontstaan door uitstraling, en dus
afkoeling, aan de bovenkant van een vochtige laag. |
| |
| World eather Watch (WWW): |
| De World Weather Watch (WW) is een wereldomvattend
waarneemnet voor uitwisseling van meteorologische
waarnemingen en daaraan
gerelateerde producten gecoördineerd door de Wereld
Meteorologische Organisatie (WM0). De WWW combineert
waarneemsystemen, faciliteiten voor telecommunicatie en
dataverwerking om meteorologische, klimatologische en
geofysische gegevens beschikbaar te hebben voor de
meteorologische instellingen, zoals het KNMI. De WWW zorgt
er ook voor dat de waarnemingen overal in de wereld op
dezelfde manier en op vaste tijdstippen worden gedaan, zodat
ze vergelijkbaar zijn en gebruikt kunnen worden voor het
maken van weersverwachtingen en wetenschappelijk onderzoek. |
| |
| Wrijvingsconvergentie: |
| Convergentie ten gevolge van wrijvingsverschillen. Een
hoeveelheid lucht bijvoorbeeld, die vanuit zee het land op
stroomt, ondervindt plotseling een grotere wrijving met het
aardoppervlak.
Er ontstaat op deze wijze als het ware een
ophoping van lucht in het kustgebied. Die lucht kan alleen
maar naar boven uitstromen, met als gevolg in het algemeen
het ontstaan van cumuliforme bewolking en soms zelfs een
bui. Dit verschijnsel wordt wel kustconvergentie genoemd. |
| |
| Wrijvingsinversie: |
Inversie die ontstaat bij voldoende turbulentie in het
onderste deel van de atmosfeer. Stel dat een hoeveelheid
lucht aan het aardoppervlak een temperatuur heeft van 10°C
en met het toenemen van de hoogte een temperatuurafname van
0,65°C per 100 m. Op 300 m hoogte heeft deze lucht dan een
temperatuur van ca. 8°C. De turbulentie mengt die lucht
gelijkmatig,
die daardoor een droog-adiabatische opbouw
krijgt, met een temperatuurafname van ca. 1°C per 100 m. De
temperatuur op 300 m wordt in dit geval 7°C. Direct boven
deze grenslaag is de temperatuur nog gewoon ca. 8°C, zodat
in een dunne luchtlaag de temperatuur even scherp zal
toenemen: er ontstaat op deze wijze een wrijvingsinversie.
Bij voldoende vocht in de grenslaag zal zich direct onder de
inversie een egale laag bewolking vormen: de zgn.
urbulentie-stratus. |
| |
| Wrijvingskracht: |
Eén van de krachten die samen de richting en snelheid van de
wind bepalen. Het is in feite de hinder die een
luchtstroming aan het aardoppervlak
in de beweging ondervindt door obstakels, zoals gebouwen,
bossen e.d. Deze invloed is uiteraard het duidelijkst
merkbaar in de onderste tientallen meters van de atmosfeer.
Maar tot een hoogte van ongeveer 1 km is nog van een zekere
wrijvingsinvloed sprake. De onderste 1000 m van de atmosfeer
wordt daarom ook wel de wrijvingslaag genoemd. De richting
van de wrijvingskracht is tegengesteld aan de windrichting,
terwijl de
grootte toeneemt met de windsnelheid. |
|
|
|
|